



Получавайте известия, когато цената на този продукт падне под желаната от Вас стойност.
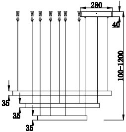
Maytoni New Series 086 плафониерна розетка за регулиране на осветлението на вашето пространство според вашите нужди. -Този конкретен модел е проектиран като метален пръстен.
| Производител | Maytoni |
|---|


Модерни, ключ за осветление, дърво
Доставка до КоледаБезплатна доставка
LED лампи, ключ за осветление, 230V
За изпращане след 3 седмициБезплатна доставка
Ключ за осветление, 230V, спалня и дневна
Доставка до Коледа
LED лампи, дистанционно управление, 230V
Доставка до Коледа
Ключ за осветление, спалня и дневна, единичен
Доставка до Коледа
LED лампи, ключ за осветление, 230V
Доставка до КоледаБезплатна доставка
Ключ за осветление, 230V, спалня и дневна
Доставка до Коледа
LED лампи, дистанционно управление, 230V
Доставка до Коледа
Ключ за осветление, 230V, спалня и дневна
Доставка до КоледаБезплатна доставка
LED лампи, дистанционно управление, 230V
Доставка до КоледаБезплатна доставка
LED лампи, ключ за осветление, 230V
Доставка до Коледа
LED лампи, кръгъл
Доставка до Коледа
Модерни, LED лампи, дистанционно управление
Доставка до КоледаБезплатна доставка
Модерни

Скандинавски, в джапанди стил
Доставка до Коледа
LED лампи, ключ за осветление, 230V
Доставка до Коледа
Ключ за осветление, 230V, спалня и дневна
Доставка до Коледа

LED лампи, ключ за осветление, дърво
Доставка до Коледа
Модерни, ключ за осветление, 230V
Доставка до Коледа
Модерни
Доставка до Коледа
Ключ за осветление, 230V, спалня и дневна
За изпращане след 3 седмици
LED лампи, дистанционно управление, 230V
Доставка до КоледаБезплатна доставка
LED лампи

LED лампи, дистанционно управление, 230V
Безплатна доставка
LED лампи, кръгъл
Доставка до Коледа
Ключ за осветление, 230V, спалня и дневна
Доставка до КоледаБезплатна доставка
LED лампи, дистанционно управление, 230V
Доставка до Коледа

Стъкло
Доставка до Коледа
Ключ за осветление, 230V, спалня и дневна
Доставка до Коледа




Твърд, с 5 зони на комфорт
Доставка до КоледаБезплатна доставка

Модерни, със закачалка
Доставка до Коледа
С шкаф
Доставка до Коледа

Модерни
Доставка до Коледа

Модерни, с шкаф, със закачалка
Доставка до Коледа
Модерни, висящи, с осветление
Доставка до Коледа
С огледало, от дъб, класическо отваряне
Доставка до Коледа
Меки
Доставка до Коледа
Модерни
Доставка до Коледа
Модерни, шкафове
Доставка до Коледа
Модерни
Доставка до Коледа