


Получавайте известия, когато цената на този продукт падне под желаната от Вас стойност.
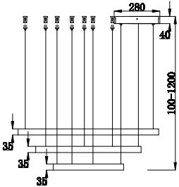
Maytoni New Series 086 плафониерна розетка за регулиране на осветлението на вашето пространство според вашите нужди. -Този конкретен модел е проектиран като метален пръстен.
| Производител | Maytoni |
|---|

Ключ за осветление, 230V, спалня и дневна
Доставка до Коледа
LED лампи, дистанционно управление, 230V
Доставка до КоледаБезплатна доставка
Ключ за осветление, спалня и дневна, единичен
Доставка до Коледа
Ключ за осветление, 230V, спалня и дневна
Доставка до Коледа
LED лампи, дистанционно управление, 230V
Доставка до Коледа
LED лампи, 230V
Доставка до Коледа
LED лампи, 230V
Доставка до Коледа
LED лампи, ключ за осветление, 230V
Доставка до КоледаБезплатна доставка
Ключ за осветление, 230V, спалня и дневна
Доставка до КоледаБезплатна доставка
Модерни, LED лампи, ключ за осветление
Доставка до Коледа

LED лампи, дистанционно управление, 230V
Доставка до Коледа
Ключ за осветление, 230V, спалня и дневна
Доставка до Коледа
Ключ за осветление, 230V, кръгъл
Доставка до Коледа
LED лампи
Доставка до Коледа
Ключ за осветление, 230V, спалня и дневна
Доставка до Коледа
LED лампи, ключ за осветление, 230V
Доставка до КоледаБезплатна доставка
Модерни, LED лампи, дистанционно управление
Доставка до Коледа
Модерни, LED лампи, 230V
Доставка до Коледа
Ключ за осветление, 230V, атипичен
Доставка до Коледа
LED лампи, дистанционно управление, 230V
Доставка до КоледаБезплатна доставка

LED лампи, ключ за осветление, 230V
Доставка до Коледа
LED лампи, ключ за осветление, 230V
Доставка до Коледа
Пластмаса

Модерни, LED лампи, 230V
Доставка до Коледа
Ключ за осветление, 230V, спалня и дневна
Доставка до Коледа
Метал, модерни

Метал, модерни, LED лампи
Доставка до Коледа
Ключ за осветление, 230V, атипичен
Доставка до Коледа
Модерни, LED лампи, ключ за осветление
Доставка до Коледа
LED лампи, ключ за осветление, 230V
Доставка до Коледа

90×190 cм, твърд, с 5 зони на комфорт
Доставка до КоледаБезплатна доставка


С шкаф
Доставка до Коледа

С чекмеджета, класическо отваряне
Доставка до Коледа

Люлеещи се, модерни
Доставка до Коледа
Модерни
Доставка до Коледа
С огледало, модерни, с шкаф
Доставка до Коледа

С място за съхранение, многофункционални легла, мултифункционални
Доставка до Коледа
Меки
Доставка до Коледа

Класическо отваряне, рафтове
Доставка до Коледа

Меки
Доставка до Коледа